| 索引号:
|
56343219X/202512-00001 |
信息分类: |
“双随机、一公开” |
| 内容分类: |
其他,城乡建设、环境保护 |
发布机构: |
宿州市生态环境局 |
| 成文日期: |
2025-12-01
|
发布时间: |
2025-12-01 10:10 |
| 文号: |
|
关键词:
|
|
| 名称: |
宿州市生态环境局2025年度一般建设项目环评登记情况检查 |
| 索引号:
|
56343219X/202512-00001 |
| 信息分类: |
“双随机、一公开” |
| 内容分类: |
其他,城乡建设、环境保护 |
| 发布机构: |
宿州市生态环境局 |
| 成文日期: |
2025-12-01
|
| 发布时间: |
2025-12-01 10:10 |
| 文号: |
|
| 有效性:
|
有效 |
| 废止时间: |
暂无 |
| 关键词:
|
|
| 名称: |
宿州市生态环境局2025年度一般建设项目环评登记情况检查 |
| 索引号:
|
56343219X/202512-00001 |
信息分类: |
“双随机、一公开” |
| 发布机构: |
宿州市生态环境局 |
| 成文日期: |
2025-12-01
|
发布日期: |
2025-12-01 10:10 |
| 文 号: |
|
有效性:
|
有效
|
| 生效时间: |
|
废止时间: |
暂无 |
| 名 称: |
宿州市生态环境局2025年度一般建设项目环评登记情况检查 |
| 政策咨询机关: |
暂无 |
政策咨询电话: |
暂无 |
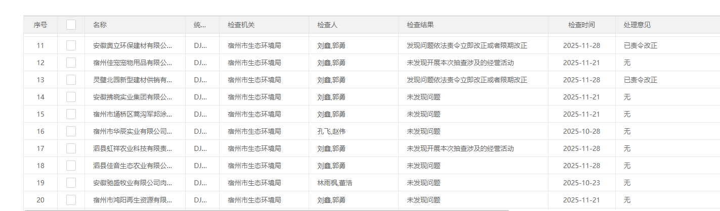
宿州市生态环境局2025年度一般建设项目环评登记情况检查
来源:宿州市生态环境局 浏览量:
发表时间:2025-12-01 10:10
编辑:宿州信息公开075